



青岛国药生命港项目建设主体有了新动向。
近日,青岛产权交易中心发布公告,青岛海康医疗管理有限公司(下称“海康医疗”)拟转让青岛蓝色医谷医疗管理有限责任公司(下称“蓝色医谷”)20%股权,转让底价4000万元。
围绕国企改革、聚焦主责主业大方向,结合投资企业的经营状况,海康医疗此番转让股份,可谓颇受关注。
齐鲁财研社第1155期
撰文/王梦茹
审校/张慧
战略选择
此番股权转让,是政策导向、资本逻辑与产业规律共同作用的结果,也折射出青岛在医疗健康领域的布局新思路。

图片来源:青岛产权交易所
转让方海康医疗隶属于青岛市国资委,原持有蓝色医谷50%股权,转让后仍可保留30%股份,并通过关联企业持有重大事项一票否决权,在引入社会资本提升企业治理效率、推动项目市场化运作的同时,依旧能够确保国资对项目的战略把控,这也折射出青岛国资从“直接控股运营”向“管资本+战略引导”的定位转型。

图片来源:爱企查
近年来,青岛国资持续推进资产优化,聚焦优势产业,本次转让正是这一改革思路在生物医药领域的落地实践。
生物医药产业向来具有研发周期长、资金投入大、技术壁垒高的特点,单一主体往往难以覆盖全链条成本。青岛作为北方生物医药重镇,亟需通过市场化手段吸引多元资本集聚入场。此次向社会资本开放20%股权,正是顺应产业趋势、激活市场活力的关键一步。
而作为激活筹码的蓝色医谷,其价值在于深度绑定的青岛国药生命港项目——该项目总投资50亿元,总建筑面积17.6万平方米,于2024年2月开工后进入密集建设期。

图片来源:青岛西海岸新区政务网
这是青岛布局生物医药新兴领域的核心载体,项目聚焦海洋生物医药、细胞与基因治疗等五大新兴领域,均为国家发展规划重点方向,具有不可替代的长期价值。
风险观察
事实上,截至2025年9月,蓝色医谷的资产总额仅为1.79亿元,所有者权益1.75亿元,这意味着单靠现有股东难以支撑巨额投资。引入外部资本不仅能补充流动资金,还能引入更多优质的产业资源,加速企业项目从“建设”向“运营”转化。
从短期财务现状看,蓝色医谷2025年营收为0,净利润亏损391.88万元,看似处于“休眠”状态,但净资产评估值达1.81亿元,20%股权转让底价4000万元较评估值溢价约10.8%,反映出市场对其长期价值的认可与信心。
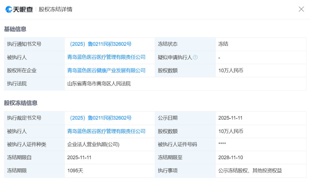
另一方面,2024年8月,蓝谷医疗曾成立子公司青岛蓝色医谷健康产业发展有限公司,注册资本仅10万元,但相应股权于今年11月被青岛市黄岛区人民法院悉数冻结。该冻结事项虽存在潜在风险,但转让方已承诺产权清晰,对股权转让交易不构成实质性障碍。

图片来源:天眼查
然需要注意的是,青岛国药生命港项目预计于2026年整体竣工。若受以上风险问题影响,致使资金到位不及时或招商不及预期,可能会导致建设进度迟滞。
此外,股东协同是多元股权结构下的核心问题。若股权转让顺利完成,国资、民资与新股东还需要在招商方向、资金使用等方面尽快达成共识。