


近段时间,多位省直部门主要领导密集来青。
3月20日,省能源局党组书记、局长郑德雁调研山东能源研究院科技创新和中电建115万千瓦海上光伏项目;
3月29日,省科技厅党组书记、厅长孙海生一行到青岛中科国晟动力科技有限公司(以下简称“中科国晟”)考察调研;
4月1日,青岛市委书记曾赞荣在青会见新加坡客人,省商务厅厅长王磊参加会见。
郑德雁和孙海生都是从青岛“走出去”的干部,其中后者调研的中科国晟,此前刚完成2亿元的B+轮融资。
作为一家有中国科学院背景的企业,中科国晟涉足的轻型燃气轮机,是青岛发展人工智能产业所依仗的核心基础设施。此番在调研期间,孙海生也重申将一如既往全力支持企业发展。
孙海生来青,去了一家“中科系”企业

首先聚焦孙海生的青岛行程。
公开资料显示,他所调研的中科国晟成立于2017年,由中国科学院工程热物理研究所与青岛城发投资集团有限公司(以下简称“青岛城发”)、青岛军民融合发展集团有限公司(以下简称“青岛军民融合”)共同发起成立,注册资本超5亿元。
创办中科国晟的三方来头不小,青岛城发与青岛军民融合均系西海岸本土国资平台。
而中国科学院工程热物理研究所,前身系著名工程热物理学家、中国科学院院士吴仲华在1956年创建的中国科学院动力研究室,是世界工程热物理学科的发源地,曾牵头建设高效低碳燃气轮机试验装置等国家重大科技设施,并拥有多项国家级实验室和科研平台。
作为一家有中国科学院背景的企业,中科国晟很好地承接了研究所在轻型燃气轮机领域的技术优势。
自创立之初,企业便立足国家能源动力领域重大需求,深耕20—50MW轻型燃气轮机研发制造,布局分布式发电、管线压缩驱动、海上油气平台发电等核心场景,构建全产业链竞争优势。
根据中科国晟官微报道,孙海生一行此番实地察看了公司燃气轮机装配修理生产线与整机试车平台,详细了解TG30系列30MW级轻型燃气轮机的研发制造、试验验证、市场应用及产业化进展。
其中,TG30系列30MW级轻型燃气轮机,正是中科国晟的“王牌”产品。
这款产品最核心的价值,在于其实现100%自主化量产,成功打破国外品牌在该领域的长期垄断格局。
长期以来,因燃气轮机技术极其复杂,涉及多个尖端领域,全球市场一直被少数几家跨国巨头垄断,是我国能源和动力领域典型的“卡脖子”环节,而中科国晟通过自主研发,不仅成功研制出30兆瓦级整机,更打通了从设计、材料、制造到控制的全链条,真正实现了自主可控。
目前,TG30系列燃气轮机已在多个场景中落地,2025年企业获得6台TG30(30MW)整机销售及3台整机维修订单,实现订单总额4.6亿元、营收超1亿元。
而在去年10月举行的中科国晟2025年供应商大会上,中科国晟董事长武东海也披露TG30燃机已实现稳定量产。
值得一提的是,在去年年底工业和信息化部发布的2025年首台(套)重大技术装备保险补偿项目资格评审结果公示中,中科国晟燃气轮机成功入选国家级项目名录,是青岛唯一入选企业。
事实上,中科国晟自主研发的轻型燃气轮机对青岛构建“10+1”创新型产业体系,同样具有重要价值。
之所以这样说,是因为其产品精准解决了制约人工智能产业发展的一大痛点——电力供给。
在创投圈,一个普遍的共识是,未来的算力之争核心在于电力供给。“投资界”近期的一则报道中曾提到:
当下AI算力的爆发式增长,推动数据中心电力需求呈指数级攀升,稳定、高效、灵活的电力供给成为算力基础设施建设的核心刚需,而素有装备制造业“皇冠上的明珠”之称的燃气轮机,正迎来新一轮产业发展机遇。
考虑到人工智能是青岛在“10+1”产业中要优先布局的两大先导产业之一,因而成功打破国外技术封锁的中科国晟,有望与青岛产生更多积极的互动。
目前来看,中科国晟的发展也有望取得更大突破。此次调研期间,孙海生亦明确表示,省科技厅将一如既往全力支持企业科技创新与产业升级。
未来,来自省级层面的优质资源能否更多导入中科国晟,值得期待。
备受追捧的“隐形独角兽”

事实上,青岛主政者早就意识到了中科国晟这样掌握核心技术的企业,对于构建创新型产业体系的重要价值。
2024年5月,青岛市委书记曾赞荣围绕科创平台建设开展调研。期间,他曾前往中科国晟,并鼓励企业持续加大自主创新力度,努力突破行业领域关键核心技术,推进企业主导的产学研合作,切实增强产业核心竞争力。
去年10月,青岛市委副书记、市长任刚到西海岸新区调研,期间他到中科国晟了解企业技术研发、科研创新等情况。
可以看到,青岛党政“一把手”两次调研中科国晟,关注重点均为创新,而这正与青岛布局“10+1”创新型产业体系的核心主线高度契合——强化以科技创新引领产业创新。
虽然成立至今还不到10年,但中科国晟已经展现出了良好的成长性,这也反映出了企业具备较强的科技创新实力。
公开报道显示,中科国晟曾先后被评为高新技术企业、青岛市“专精特新”中小企业、创新型中小企业、青岛市雏鹰企业、青岛市新型研发机构等。
在去年11月举行的第11届中国国际发明展览会暨2025中国隐形独角兽500强大会上,中科国晟成功跻身2025年度中国“隐形独角兽企业”行列。
根据《独角兽企业分类评价指南》,隐形独角兽企业评价标准包括公司估值2-70亿元人民币、拥有独创性或颠覆性技术、拥有难以复制的商业模式、成立时间5年左右、符合现行政策导向等。
对于志在抢占产业发展制高点、在新一轮产业竞争中实现从“跟跑”到“领跑”跨越的青岛而言,这样的“隐形独角兽”自然是极为宝贵的资源。
更进一步来说,其还关联着青岛眼下所承担的一项重要任务——创建国家新型工业化示范区。
今年3月,工业和信息化部公布创建国家新型工业化示范区首批城市名单,全国16个城市入选,青岛是山东省唯一入选城市。
围绕建设国家新型工业化示范区,青岛提出打造国家新质生产力发展高地、人工智能赋能新型工业化创新示范中心、陆海统筹新型工业化特色典范、国际先进制造业开放合作枢纽,力争形成可复制推广的“青岛经验”。
特别要注意青岛提出的第二个“小目标”——人工智能赋能新型工业化创新示范中心。在青岛持续深化“人工智能+”行动的背景下,中科国晟的价值只会有增无减。
事实上,中科国晟不仅获得来自官方的“力挺”,还赢得了众多优质资本的青睐。

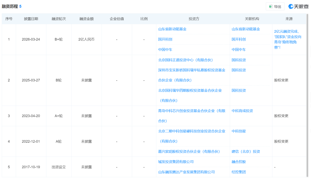
自成立以来,中科国晟已完成4轮融资,引入多家具备产业背景的投资机构。
其中在2025年的融资中,中科国晟成功引入国科投资,企业注册资本增至5.02亿元。
国科投资同样是一个有中国科学院背景的资本,其前身是由中国科学院和国家经济委员会在1987年联合创建的中国科技促进经济发展基金会。
2007年,国科投资成功转型为市场化私募股权投资基金管理机构,并始终聚焦硬核科技,现已成为国内科技投资领域最专业、最受信赖、最具影响力的机构之一。
而在前不久,中科国晟成功完成了总金额达2亿元的B+轮融资,又成功引入山东省新动能基金、国开科技创业投资有限责任公司、华舆(青岛)制造业转型升级私募股权投资基金等多家知名政府引导基金及国央企投资平台。
需要指出的是,中科国晟此轮融资并非一蹴而就。
早在去年9月,中科国晟便在青岛产权交易所启动挂牌交易程序,拟募集资金2亿元。
今年年初,中科国晟再次在青岛产权交易所挂牌,并在公告中透露在前次挂牌期间已募集到投资金额1.2亿元,而鉴于增资拟募集资金为2亿元,尚有8000万元资金可补充募集,故而启动再次挂牌交易程序。
直至3月23日,中科国晟官宣完成B+轮融资。在此次引入的三个资方中,华舆基金格外醒目,其具备中国中车及国家制造业转型升级基金的产业背景,标志着企业发展获得“国家队”的垂青。
而根据此前发布的公告显示,中科国晟本轮融资将用于产品研发、生产制造、条件能力建设、市场开拓及运营资金。其中,条件能力建设涵盖园区建设尾款支付、生产线扩充及信息化建设。
资本的助力,有望反哺企业更好的发展。
另据公开报道,中科国晟近期已引入具备专业券商背景的董事会秘书,这意味着企业正同步推进资本市场规范化建设。
可以预见,在资本加持下,中科国晟的发展能级有望得到进一步提升,而这对于企业所在地青岛而言,也将会是一大利好。